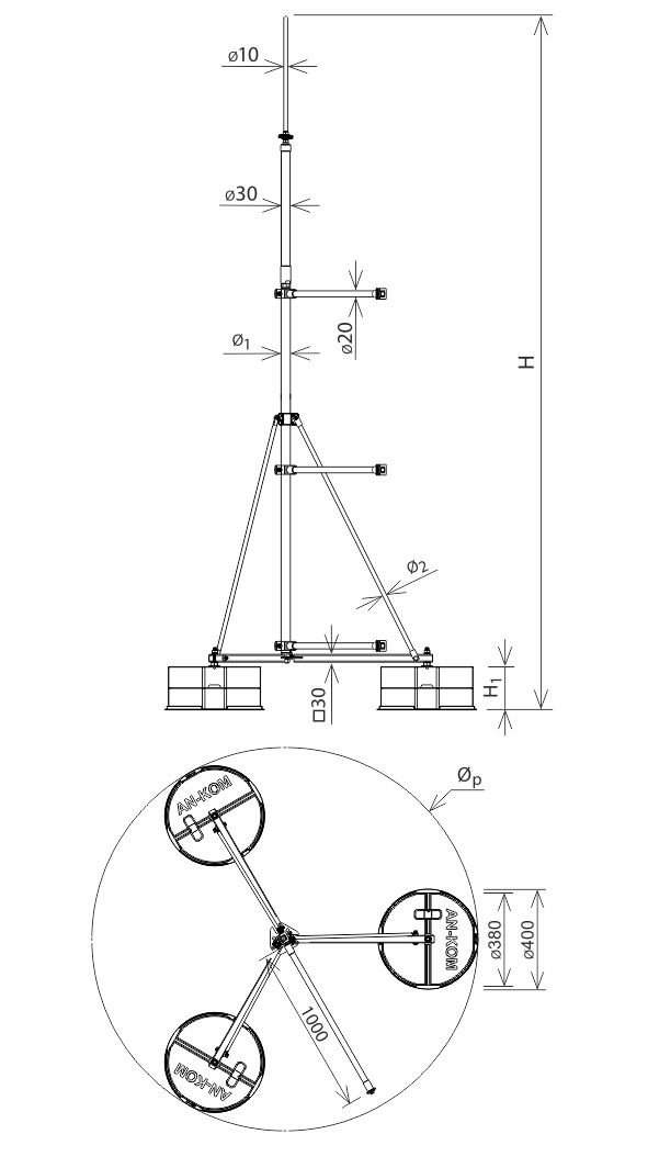
Free-standing masts with an air terminal on a tripod with bases. They are used to discharge the lightning current while maintaining the intrinsically safe distance, which is ensured by horizontal insulating rods.
Free-standing masts with an air terminal on a tripod with bases. They are used to discharge the lightning current while maintaining the intrinsically safe distance, which is ensured by horizontal insulating rods.
| symbol type |
H196176 AN-83A/OG/ |
| H (mm) |
4000 |
| base weight (kg) |
3 x 36 |
| Ø1 / Ø2 (mm) |
33,7 / 12 |
| Øp / H1 (mm) |
1950 / 70 |
| number of horizontal insulated rods (pcs) |
3 |
| wind resistance (km/h) |
158 |
| material | hot galvanised steel |